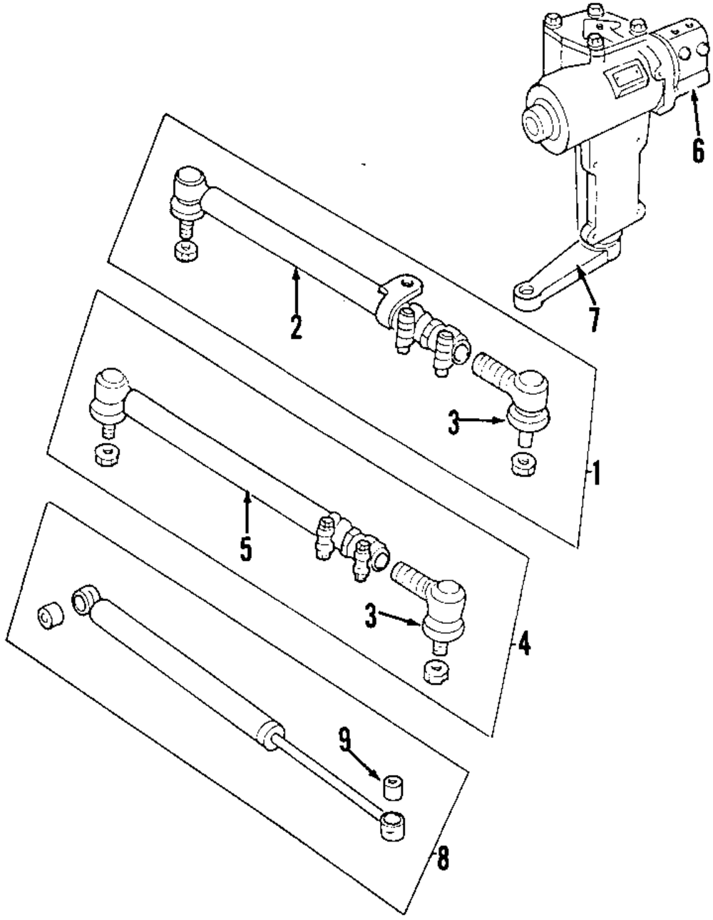
Pitman Arm - Land-Rover (QJF000030)
Pitman Arm - Land-Rover (QJF000030)
Genuine Land-Rover Parts
- Land-Rover
- QJF000030
Details
- Brand:
- SKU:
QJF000030
- Other Names:
Lever
- Description:
Discovery series ii.
- Applications: RANGE ROVER SE, HSE, DISCOVERY SERIES II.
- MSRP: $275.68
- Discount: $62.44 (22.6% off)
- Sale Price: $213.24
Packages shipped within the U.S. and Puerto Rico will automatically be protected from any loss, damage, and theft. Learn More
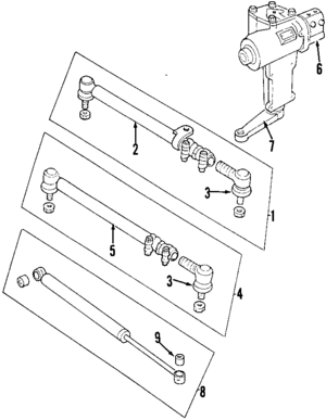
Genuine Land-Rover Parts
- Land-Rover
- QJF000030
Details
- Brand:
- SKU:
QJF000030
- Other Names:
Lever
- Description:
Discovery series ii.
- Applications: RANGE ROVER SE, HSE, DISCOVERY SERIES II.
Also Purchased
Vehicle Fitment
| Year | Make | Model | Body & Trim | Engine & Transmission |
|---|
